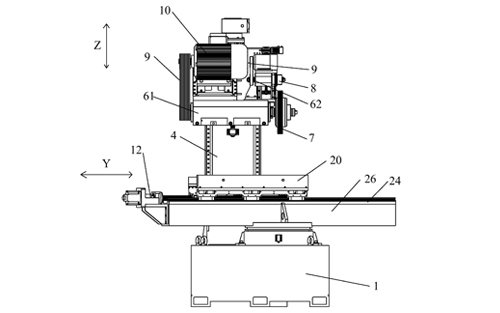
一種數控高效精密齒條磨床,其特征在于:包括床身(1)、橫向導軌(2)、縱向導軌(3)、立柱(4)、工作臺(5)和磨頭拖板(6),所述磨頭拖板(6)上設有主磨頭(61)和修整器(62),所述主磨頭(61)上安裝有砂輪(7),所述修整器(62)上安裝有金鋼滾輪(8),該金鋼滾輪(8)的外周面上設有用于修整砂輪(7)的磨削成形齒,所述磨頭拖板(6)安裝在立柱(4)上、并可相對立柱(4)上下移動,所述立柱(4)安裝在橫向導軌(2)上、并可相對橫向導軌(2)橫向移動,所述橫向導軌(2)安裝在床身(1)上,所述工作臺(5)安裝在縱向導軌(3)上、并可相對縱向導軌(3)縱向移動,所述縱向導軌(3)可轉動地安裝在床身(1)上;

還包括控制器、修整器移動量電子尺(21)、垂向進給量電子尺(22)、橫向進給量電子尺(23)、縱向進給量電子尺(24)和用于測量工作臺(5)轉動角度的角度傳感器(25),所述修整器移動量電子尺(21)、垂向進給量電子尺(22)、橫向進給量電子尺(23)、縱向進給量電子尺(24)和角度傳感器(25)都與控制器相連接,所述修整器移動量電子尺(21)包括設在修整器(62)上的標尺和設在磨頭拖板(6)上的定尺,所述垂向進給量電子尺(22)包括設在磨頭拖板(6)上的標尺和設在立柱(4)上的定尺,所述橫向進給量電子尺(23)包括設在立柱(4)上的標尺和設在橫向導軌(2)上的定尺,所述縱向進給量電子尺(24)包括設在工作臺(4)上的標尺和設在縱向導軌(3)上的定尺。
此數控高效精密齒條磨床能夠在齒條毛坯上一次全切深走刀,以迅速獲得精確的形狀并達到高精度加工尺寸,且代替了現有技術中由多臺加工設備組合構成的加工機組,從而大幅度節能,且大大提高齒條加工效率。